本技術涉及粉末涂料加工設備技術領域,目的是提供一種粉末涂料振動篩,通過雙層過濾設置,降低過濾紗網的更換頻率,同時可拆分的篩網架可以實現單獨只更換紗網,降低更換成本。粉末涂料在生產的過程中,需要使用振動篩對粉末涂料進行篩選處理,另外粉末涂料噴涂的過程中回收的粉末涂料也需要振動篩篩分處理,振動篩在使用的過程中,過濾紗網的更換頻率比較高,影響整體的工作效率,另外目前的過濾紗網在更換的過程中是整體的連帶支撐架更換,更換的成本較高,在一定程度上加大了整體的成產成本。

技術實現要素:
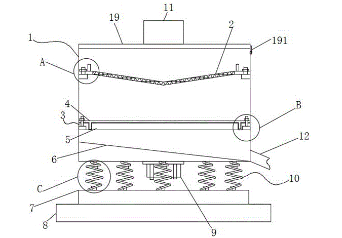
本技術解決其技術問題所采用的技術方案是:一種粉末涂料振動篩,包括振動篩箱體,所述振動篩箱體的頂端鉸接有蓋板,所述蓋板上設有進料口,所述振動篩箱體的底端設有上支撐板,所述上支撐板與振動篩箱體之間設有減震結構,所述上支撐板的下方設有下底座板,所述振動篩箱體的底面外壁中心處設有振動電機,所述振動篩箱體內壁兩側靠近頂端處設有第一側支板,所述第一側支板上設有可拆卸的第一過濾篩網,所述第一過濾篩網的下方隔空設有第二過濾紗網,所述第二過濾紗網通過篩網架張緊固定,所述篩網架包括可拆分的上壓緊框架、下壓緊框架,所述篩網架通過設于振動篩箱體內壁四周的第二側支板固定,所述振動篩箱體的內部底端設有斜出料板,所述斜出料板的末端設有對外相通的出料口。
優選的,所述減震結構包括豎向設于上支撐板與振動篩箱體之間的圓柱彈簧,所述圓柱彈簧的兩端內圈分別通過上限位結構、下限位結構限位,所述上限位結構的上端與振動篩箱體的底面固定連接,所述下限位結構的下端與上支撐板的上表面固定連接。
優選的,所述第一側支板上設有第一螺紋柱,所述第一過濾篩網的兩端設有連接板,所述第一螺紋柱貫穿連接板后通過第一螺母緊固。
優選的,所述連接板上設有提手。
優選的,所述第一過濾篩網的正向截面呈v型,所述第一過濾篩網為金屬篩網。
優選的,所述上壓緊框架包括第一壓塊,所述第一壓塊的中間處為第一方形通槽,所述第一壓塊的表面設有第一橡膠層,所述第一壓塊的上端四周設有第一連接側翼,所述第一連接側翼上設有第一連接孔;所述下壓緊框架包括第二壓塊,所述第二壓塊的中間處為第二方形通槽,所述第二壓塊上端面處設有卡槽,所述卡槽的表面上設有第二橡膠層,所述第二壓塊的上端四周均設有第二連接側翼,所述第二連接側翼上設有與第一連接孔對應的第二連接孔;所述第二側支板上設有第二螺紋柱,所述第二螺紋柱依次貫穿第二連接孔、第一連接孔后通過第二螺母固定。
優選的,所述第一壓塊可從上往下插入到卡槽內。
優選的,所述第二連接側翼的下表面設有密封墊。
優選的,所述蓋板的一側設有與振動篩箱體上端一側連接的鎖緊結構。
本技術的有益效果是:
該粉末涂料振動篩先通過金屬篩網的第一過濾篩網過濾掉粉末噴涂中的大顆粒物,避免大顆粒物雜質損害第二過濾紗網,減少第二過濾紗網的更換頻率,整體上提高工作效率,另外第二過濾紗網通過可拆分開來的上壓緊框架、下壓緊框架張緊固定,在更換篩網時,可以只更換第二過濾紗網,減少更換的成本,上壓緊框架、下壓緊框架之間的安裝簡單快捷,便于更換第二過濾紗網。
附圖說明

圖中:1、振動篩箱體,11、進料口,12、出料口,13、第一側支板,14、第一螺紋柱,15、第一螺母,16、第二側支板,17、第二螺紋柱,18、第二螺母,19、蓋板,191、鎖緊結構,2、第一過濾篩網,21、連接板,22、提手,3、篩網架,4、上壓緊框架,41、第一壓塊,42、第一方形通槽,43、第一橡膠層,44、第一連接側翼,45、第一連接孔,5、下壓緊框架,51、第二連接側翼,52、第二連接孔,53、第二壓塊,54、第二方形通槽,55、卡槽,56、第二橡膠層,57、密封墊,6、斜出料板,7、上支撐板,8、下底座板,9、振動電機,10、減震結構,101、上限位結構,102、下限位結構,103、圓柱彈簧,100、第二過濾紗網。
具體實施方式
下面將結合本技術實施例中的附圖,對本技術實施例中的技術方案進行清楚、完整地描述,顯然,所描述的實施例僅僅是本技術的一部分實施例,而不是全部的實施例,基于本技術中的實施例,本領域普通技術人員在沒有做出創造性勞動前提下所獲得的所有其他實施例,都屬于本技術保護的范圍。
技術特征:
1.一種粉末涂料振動篩,包括振動篩箱體,所述振動篩箱體的頂端鉸接有蓋板,所述蓋板上設有進料口,所述振動篩箱體的底端設有上支撐板,所述上支撐板與振動篩箱體之間設有減震結構,所述上支撐板的下方設有下底座板,所述振動篩箱體的底面外壁中心處設有振動電機,其特征在于:所述振動篩箱體內壁兩側靠近頂端處設有第一側支板,所述第一側支板上設有可拆卸的第一過濾篩網,所述第一過濾篩網的下方隔空設有第二過濾紗網,所述第二過濾紗網通過篩網架張緊固定,所述篩網架包括可拆分的上壓緊框架、下壓緊框架,所述篩網架通過設于振動篩箱體內壁四周的第二側支板固定,所述振動篩箱體的內部底端設有斜出料板,所述斜出料板的末端設有對外相通的出料口。
2.根據實用要求1所述的一種粉末涂料振動篩,其特征在于:所述減震結構包括豎向設于上支撐板與振動篩箱體之間的圓柱彈簧,所述圓柱彈簧的兩端內圈分別通過上限位結構、下限位結構限位,所述上限位結構的上端與振動篩箱體的底面固定連接,所述下限位結構的下端與上支撐板的上表面固定連接。
3.根據實用要求1所述的一種粉末涂料振動篩,其特征在于:所述第一側支板上設有第一螺紋柱,所述第一過濾篩網的兩端設有連接板,所述第一螺紋柱貫穿連接板后通過第一螺母緊固。
4.根據實用要求3所述的一種粉末涂料振動篩,其特征在于:所述連接板上設有提手。
5.根據實用要求3所述的一種粉末涂料振動篩,其特征在于:所述第一過濾篩網的正向截面呈v型,所述第一過濾篩網為金屬篩網。
6.根據實用要求1所述的一種粉末涂料振動篩,其特征在于:所述上壓緊框架包括第一壓塊,所述第一壓塊的中間處為第一方形通槽,所述第一壓塊的表面設有第一橡膠層,所述第一壓塊的上端四周設有第一連接側翼,所述第一連接側翼上設有第一連接孔;所述下壓緊框架包括第二壓塊,所述第二壓塊的中間處為第二方形通槽,所述第二壓塊上端面處設有卡槽,所述卡槽的表面上設有第二橡膠層,所述第二壓塊的上端四周均設有第二連接側翼,所述第二連接側翼上設有與第一連接孔對應的第二連接孔;所述第二側支板上設有第二螺紋柱,所述第二螺紋柱依次貫穿第二連接孔、第一連接孔后通過第二螺母固定。
7.根據實用要求6所述的一種粉末涂料振動篩,其特征在于:所述第一壓塊可從上往下插入到卡槽內。
8.根據實用要求6所述的一種粉末涂料振動篩,其特征在于:所述第二連接側翼的下表面設有密封墊。
9.根據實用要求1所述的一種粉末涂料振動篩,其特征在于:所述蓋板的一側設有與振動篩箱體上端一側連接的鎖緊結構。
技術總結
本技術涉及粉一種粉末涂料振動篩,包括振動篩箱體,振動篩箱體的頂端鉸接有蓋板,振動篩箱體的底端設有上支撐板,上支撐板與振動篩箱體之間設有減震結構,上支撐板的下方設有下底座板,振動篩箱體的底面外壁中心處設有振動電機,振動篩箱體內壁兩側靠近頂端處設有第一側支板,第一側支板上設有可拆卸的第一過濾篩網,第一過濾篩網的下方隔空設有第二過濾紗網,第二過濾紗網通過篩網架張緊固定,篩網架包括可拆分的上壓緊框架、下壓緊框架,篩網架通過設于振動篩箱體內壁四周的第二側支板固定。本技術通過雙層過濾設置,降低過濾紗網的更換頻率,同時可拆分的篩網架可以實現只更換紗網,降低更換成本。
版權說明:如非注明,本站文章均為河南新鄉振動篩廠家原創,轉載請注明出處和附帶粉末涂料振動篩改進方案及有益效果本文鏈接。
上一篇:復合肥振動篩解決復合化肥顆粒易粘接的篩分難題
下一篇:TZS1550直線振動篩